这段日子,微博热搜总是有关疫情的消息,看了着实令人揪心。我们在刷微博时刷到了“韩红基金会捐赠物资”,只一瞬间,便想到了同疫情做抗争的那些人。他们有的是感染病毒的受害者,更多的是坚守岗位、默默奉献的医护人员,也就是最美逆行者。他们舍小家,顾大家,为抵抗疫情贡献一臂之力。我们想,我们也应该以自己的绵薄之力,捐赠善款,为宜昌加油,为中国加油!

“xxx医院告急!10万医护人员几近崩溃,物资匮乏,紧急求助求扩散!!” “求求大家了!!xx医院的医护人员,一次性防护服已经反复穿了五遍了....”看着这些揪心的新闻越来越多,我们的心情愈加沉重。立即决定号召同学们和我们一起捐款。
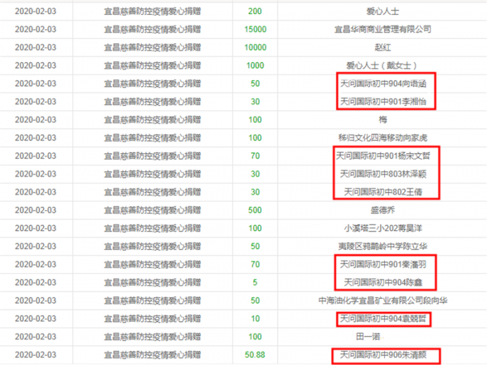
其实,起初是不太顺利的。因为只有两个人,各方面的条件都不足以达到良好宣传效果,但是渐渐的,在我们分享了自己的想法之后陆续又有三个小伙伴加入我们,我们一起组成了“天问爱心小分队”,并创建了微信群。五位小伙伴分工明确,精诚合作,共同制定计划方案。首先,我们确定了宣传海报和宣传方式,然后我们分别在qq空间和朋友圈进行转发,呼吁大家一起参与。这一爱心活动很快引起大家的广泛关注。不出半小时,转发量就突破了50次。越来越多的同学开始捐款,有的拿的是自己积攒已久的零花钱,有的拿的是手还没摸热乎的压岁钱。金额不限,但温暖无限。就在当天晚上,我们的公告发布不到5小时,但捐款数额已经多到600多元。我们马不停蹄就将当日所有捐款资金移交给了宜昌慈善总会,以便他们调配。我们还将捐赠证书下发给捐赠的同学作为鼓励,期望他们能够继续为公益事业贡献自己的力量!

当然,也有人问我们:“捐多少啊?”我们告诉同学们:“不论你捐多少,你都是我们天问人的榜样,是我们的骄傲!”自此,捐款的数额和我们的热情一同蹭蹭蹭往上涨。这大概就是我们天问学子的力量吧!中午,捐款金额便已经达到了780元,晚上竟突破了一千元。夜幕已至,我们在忙碌中结束了一天的爱心捐款活动,亲手将这些资金一笔一笔地汇给了宜昌慈善总会。不到30个小时,我们一共筹集善款1648元。



哪有什么岁月静好,只不过有人替你负重前行!那些白衣天使,警察同志们,还有无数默默无闻的奉献在他们自己工作岗位上的同胞都在为国努力,为国奋斗!那么,我们就用自己的绵薄之力为他们加油鼓劲 。同学们,捐款捐的不仅是金钱,捐的更是希望!我们发动这次活动,不仅是想在资金上献出一份力量,更是想让正奋斗在前线的同胞们感受到他们身后有千千万万的中国人支持!你捐出的每一元钱,都可以为他们多一点希望,千万人的希望汇聚,一定会绽放光芒!相信吧,每位同学的捐赠都将为光芒的绽放助力,我们作为天问学子有什么理由不伸出援助之手,以青春之名,为国家助力!
万众一心,没有翻不过的山;心手相牵,没有跨不过的坎。我们坚信在全国人民的共同努力下,我们一定能够凝聚力量,共克时艰!
夷陵天问国际初中904班 张厚强 张曦月



